• The new WDWMAGIC iOS app is here!
    Stay up to date with the latest Disney news, photos, and discussions right from your iPhone. The app is free to download and gives you quick access to news articles, forums, photo galleries, park hours, weather and Lightning Lane pricing. Learn More
  • Welcome to the WDWMAGIC.COM Forums!
    Please take a look around, and feel free to sign up and join the community.

Haunted Mansion experience

LaughingGravy

Well-Known Member
I reckon it's the handicapped boarding and disembarking, not mechanical problems.
I would rather the temporary inconvenience than needing to be in a situation where I cannot walk on and off a ride without help.
In answer to a previous comment in this thread, yes, in the past, there were indeed fewer people in wheelchairs and scooters going to the park. The US has changed. I do say the US for a reason.
If you look at many current and recent videos on youtube taken by guests of the other non-US parks, strollers, scooters, and wheelchairs are practically non-existent in comparison.

If I want an uninterrupted HM experience, I will go on during the most likely times of near opening and closing to maximize the possibility.
 

socalifornian

Well-Known Member
I would rather the temporary inconvenience than needing to be in a situation where I cannot walk on and off a ride without help.
In answer to a previous comment in this thread, yes, in the past, there were indeed fewer people in wheelchairs and scooters going to the park. The US has changed. I do say the US for a reason.
If you look at many current and recent videos on youtube taken by guests of the other non-US parks, strollers, scooters, and wheelchairs are practically non-existent in comparison.

If I want an uninterrupted HM experience, I will go on during the most likely times of near opening and closing to maximize the possibility.
Those same guests are boarding other rides throughout the day. It’s just more noticeable on a omnimover
 

Janir

Well-Known Member
Planning ADA loading and unloading only goes so far. Many, many pauses are caused by able-bodies clueless guests who take their sweet time climbing aboard, for no reason other than they are blissfully unaware of their surroundings.
That's easy to fix. Put up some spikes at the end of the loading zone. Some motivation to not dawdle getting into the doom buggies or you get to be the 1000's haunt, just not a happy one.
 

180º

Well-Known Member
That's easy to fix. Put up some spikes at the end of the loading zone. Some motivation to not dawdle getting into the doom buggies or you get to be the 1000's haunt, just not a happy one.
Lol! As unaware as guests are, I’m afraid that might not make them any faster, it would just make them dead.
 

Janir

Well-Known Member
Lol! As unaware as guests are, I’m afraid that might not make them any faster, it would just make them dead.
Yeah, you're right. On second thought it would be a major pain updating the Ghost Host narration on a daily basis to plus 1 everytime someone dies and adds themselves to the haunts.
We be up to 999,999 haunts inside of a month easy.
 

truecoat

Well-Known Member
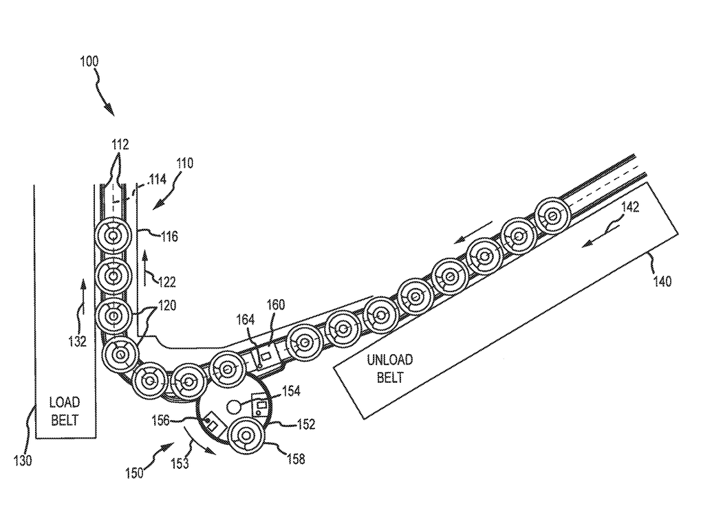
I saw a Disney patent for a handicapable car exchange for the omnimover. I believe it would happen while moving.

I found it and it would exchange cars while moving.

omni.png
Omni 2.png
 

Rich T

Well-Known Member
I've been riding HM since its opening year, and it's always had the stop and the safety spiel as part of the experience. That's the downside of the omnimover system, though it does seem to happen more frequently these days. The repeated safety spiel is the one part that gets annoying, and Disney could spent a bit of money to turn the stops into a plus for everyone. What if they recorded several dozen different stop-spiels in which various ghosts of the mansion talk to you through the Doombuggy speakers? What if a ghost mechanic started tapping away on the back of your vehicle, telling you he'd have you up and running in just a sec'? Then frequent riders would actually look forward to the stops, building up to the bragging right that they'd "heard them all." :D
(EDIT) All 999 of them.
 

Mac Tonight

Well-Known Member
I've been riding HM since its opening year, and it's always had the stop and the safety spiel as part of the experience. That's the downside of the omnimover system, though it does seem to happen more frequently these days. The repeated safety spiel is the one part that gets annoying, and Disney could spent a bit of money to turn the stops into a plus for everyone. What if they recorded several dozen different stop-spiels in which various ghosts of the mansion talk to you through the Doombuggy speakers? What if a ghost mechanic started tapping away on the back of your vehicle, telling you he'd have you up and running in just a sec'? Then frequent riders would actually look forward to the stops, building up to the bragging right that they'd "heard them all." :D
(EDIT) All 999 of them.
... Because that would make too much sense.
 

Phroobar

Well-Known Member
I've been riding HM since its opening year, and it's always had the stop and the safety spiel as part of the experience. That's the downside of the omnimover system, though it does seem to happen more frequently these days. The repeated safety spiel is the one part that gets annoying, and Disney could spent a bit of money to turn the stops into a plus for everyone. What if they recorded several dozen different stop-spiels in which various ghosts of the mansion talk to you through the Doombuggy speakers? What if a ghost mechanic started tapping away on the back of your vehicle, telling you he'd have you up and running in just a sec'? Then frequent riders would actually look forward to the stops, building up to the bragging right that they'd "heard them all." :D
(EDIT) All 999 of them.
Good idea. Very creative.
 

Disney Irish

Premium Member
So a couple things I've noticed.

1. The slowdown to a crawl is the handicapable loading.
2. The all out stop can be a couple things:
a. CM hits E-Stop because loading (anyone) didn't happen quick enough.
b. Sensor was tripped along the ride because a guest reached out too far.

I've notice 2b a lot more since Hattie was introduced. It was real bad before they banned the selfie sticks. Maybe the sensors are too sensitive. Because I still see some vloggers bringing in those handhelds and reaching out beyond the doombuggy.

So don't always be so quick to blame the handicapable.
 

Mac Tonight

Well-Known Member
It's too complicated. I've long been over the trend of making these rides more "immersive" by making it seem like they are giving attention to the people on the ride. We're not special.
But... we're the ones taking the tour. The ghosts are picking up our "sympathetic vibrations and beginning to materialize". Without us, the mansion doesn't come alive... so to speak.

I don't think anyone is suggesting the mansion operates under "running" and "non-running" modes differently. But they could spruce up the "holding" spiel like @Rich T suggested with just a few newly recorded sounds and lines of dialogue. Not that hard.
 

THE 1HAPPY HAUNT

Well-Known Member
Rode it twice Sunday. Stopped both times and the second time (around 8) we were stopped for a solid 5 minutes. Then it resumed, stopped again, went into crawl mode, stopped again, and crawled home. We were stopped for so long that when it finally started up again people cheered.

I'll be the one to say it... I blame HMH. The bi-annual swap has probably left more things in disrepair than anything else. Really, for a ride celebrating its 50th anniversary in just a few months, it is really showing it's age.
actually due to hmh the mansion gets a lot more regular matience and care than Disneyworld's version
 

Register on WDWMAGIC. This sidebar will go away, and you'll see fewer ads.

Back
Top Bottom